LVS90 Vertical multicellular stainless steel in line pump
Application
- Transfer of liquids with low viscosity, non-flammable and non-explosive, not containing solid particles or fibers. These liquids must not chemically attack the materials of the pump.
- Water supply for tall buildings, pumping stations, overpressure in drinking water
- Washing stations, heating water circulation, air conditioning water circulation, water treatment systems
- Ultrafiltration, reverse osmosis, distillation systems, municipal swimming pools
- Irrigation: sprinkling, drip
- Food industry
- Fire fighting systems
Pump
- Liquid temperature: from -20°C to +120°C
- Nominal flow: 90 m³/h
- maximum pressure: 20 bars
- pH between 4 and 10
Motor
- IE3 motor
- Protection class: IP55
- Maximum ambient temperature: +40°
Identification codes
LVS
90
-5
-2
-B
/F
DIN flange
inox 316 (by default, inox 304)
number of small impellers
number of impellers
Nominal flow (m³/h)
Vertical multistage stainless steel in line pump
Technical data
| Q (m³/h) | 50 | 60 | 70 | 80 | 90 | 100 | 110 | ||||
|---|---|---|---|---|---|---|---|---|---|---|---|
| Model | Code | Price excl. VAT | kW | Q (l/min) | 833 | 1000 | 1167 | 1333 | 1500 | 1667 | 1833 |
| LVS90-3/F | A1.22.033 | 6.986,00 € | 22 | H (m) | 84.5 | 80 | 75.5 | 70.5 | 65 | 58.5 | 50.5 |
| LVS90-4/F | A1.22.035 | 8.628,00 € | 30 | 114 | 109 | 103 | 96 | 88.5 | 79.5 | 69.5 | |
| LVS90-5/F | A1.22.037 | 9.432,00 € | 37 | 144 | 136 | 129 | 121 | 111 | 101 | 87 |
Hydraulic performance
Dimensions
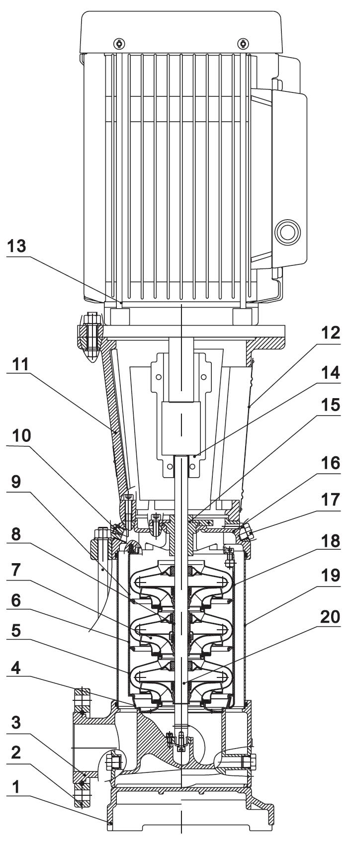
Exploded view
| No. | Type | Materials | Buy |
|---|---|---|---|
| 1 | Base | cast iron HT200 | |
| 2 | Flange | ZG35 cast steel | |
| 3 | Lower water box | ZG304 | |
| 4 | Diffuser | AISI 304 stainless steel | |
| 5 | Intermediate diffuser | AISI 304 stainless steel | |
| 6 | Diffuser with bearing | AISI 304 stainless steel | |
| 7 | Impeller | AISI 304 stainless steel | |
| 8 | Shaft sleeve | ||
| 9 | Diffuser | AISI 304 stainless steel | |
| 10 | Drain plug | AISI 304 stainless steel | |
| 11 | Lantern | cast iron HT200 | |
| 12 | Coupling protection housing | ||
| 13 | Engine | AISI 304 stainless steel | |
| 14 | Coupling | QT400 cast iron | |
| 15 | Cartridge mechanical seal | ||
| 16 | Pump bottom | ZG304 | |
| 17 | Filling plug | AISI 304 stainless steel | |
| 18 | Clamping plate | AISI 304 stainless steel | |
| 19 | Jacket | AISI 304 stainless steel | |
| 20 | Pump shaft | AISI 304 stainless steel |

Base for LVS90
| Model | Part ref. | Price | Stock | Buy |
|---|---|---|---|---|
| LVS90-3/F | No available part. | |||
| LVS90-4/F | No available part. | |||
| LVS90-5/F | No available part. | |||
Flange for LVS90
| Model | Part ref. | Price | Stock | Buy |
|---|---|---|---|---|
| LVS90-3/F | No available part. | |||
| LVS90-4/F | No available part. | |||
| LVS90-5/F | No available part. | |||
Lower water box for LVS90
| Model | Part ref. | Price | Stock | Buy |
|---|---|---|---|---|
| LVS90-3/F | No available part. | |||
| LVS90-4/F | No available part. | |||
| LVS90-5/F | No available part. | |||
Diffuser for LVS90
| Model | Part ref. | Price | Stock | Buy |
|---|---|---|---|---|
| LVS90-3/F | No available part. | |||
| LVS90-4/F | No available part. | |||
| LVS90-5/F | No available part. | |||
Intermediate diffuser for LVS90
| Model | Part ref. | Price | Stock | Buy |
|---|---|---|---|---|
| LVS90-3/F | No available part. | |||
| LVS90-4/F | No available part. | |||
| LVS90-5/F | No available part. | |||
Diffuser with bearing for LVS90
| Model | Part ref. | Price | Stock | Buy |
|---|---|---|---|---|
| LVS90-3/F | No available part. | |||
| LVS90-4/F | No available part. | |||
| LVS90-5/F | No available part. | |||
Impeller for LVS90
| Model | Part ref. | Price | Stock | Buy |
|---|---|---|---|---|
| LVS90-3/F | No available part. | |||
| LVS90-4/F | No available part. | |||
| LVS90-5/F | No available part. | |||
Shaft sleeve for LVS90
| Model | Part ref. | Price | Stock | Buy |
|---|---|---|---|---|
| LVS90-3/F | No available part. | |||
| LVS90-4/F | No available part. | |||
| LVS90-5/F | No available part. | |||
Diffuser for LVS90
| Model | Part ref. | Price | Stock | Buy |
|---|---|---|---|---|
| LVS90-3/F | No available part. | |||
| LVS90-4/F | No available part. | |||
| LVS90-5/F | No available part. | |||
Drain plug for LVS90
| Model | Part ref. | Price | Stock | Buy |
|---|---|---|---|---|
| LVS90-3/F | No available part. | |||
| LVS90-4/F | No available part. | |||
| LVS90-5/F | No available part. | |||
Lantern for LVS90
| Model | Part ref. | Price | Stock | Buy |
|---|---|---|---|---|
| LVS90-3/F | No available part. | |||
| LVS90-4/F | No available part. | |||
| LVS90-5/F | No available part. | |||
Coupling protection housing for LVS90
| Model | Part ref. | Price | Stock | Buy |
|---|---|---|---|---|
| LVS90-3/F | No available part. | |||
| LVS90-4/F | No available part. | |||
| LVS90-5/F | No available part. | |||
Engine for LVS90
| Model | Part ref. | Price | Stock | Buy |
|---|---|---|---|---|
| LVS90-3/F | No available part. | |||
| LVS90-4/F | No available part. | |||
| LVS90-5/F | No available part. | |||
Coupling for LVS90
| Model | Part ref. | Price | Stock | Buy |
|---|---|---|---|---|
| LVS90-3/F | No available part. | |||
| LVS90-4/F | No available part. | |||
| LVS90-5/F | No available part. | |||
Cartridge mechanical seal for LVS90
| Model | Part ref. | Price | Stock | Buy |
|---|---|---|---|---|
| LVS90-3/F | 10017824 | -- | -- | -- |
| LVS90-4/F | 10017824 | -- | -- | -- |
| LVS90-5/F | 10017824 | -- | -- | -- |
Pump bottom for LVS90
| Model | Part ref. | Price | Stock | Buy |
|---|---|---|---|---|
| LVS90-3/F | No available part. | |||
| LVS90-4/F | No available part. | |||
| LVS90-5/F | No available part. | |||
Filling plug for LVS90
| Model | Part ref. | Price | Stock | Buy |
|---|---|---|---|---|
| LVS90-3/F | No available part. | |||
| LVS90-4/F | No available part. | |||
| LVS90-5/F | No available part. | |||
Clamping plate for LVS90
| Model | Part ref. | Price | Stock | Buy |
|---|---|---|---|---|
| LVS90-3/F | No available part. | |||
| LVS90-4/F | No available part. | |||
| LVS90-5/F | No available part. | |||
Jacket for LVS90
| Model | Part ref. | Price | Stock | Buy |
|---|---|---|---|---|
| LVS90-3/F | No available part. | |||
| LVS90-4/F | No available part. | |||
| LVS90-5/F | No available part. | |||
Pump shaft for LVS90
| Model | Part ref. | Price | Stock | Buy |
|---|---|---|---|---|
| LVS90-3/F | No available part. | |||
| LVS90-4/F | No available part. | |||
| LVS90-5/F | No available part. | |||
