LVR45 Vertical multicellular pump, water box and pump base in cast iron
Application
- Transfer of liquids with low viscosity, non-flammable and non-explosive, not containing solid particles or fibers. These liquids must not chemically attack the materials of the pump.
- Water supply for tall buildings, pumping stations, overpressure
- Washing stations, heating water circulation, air conditioning water circulation, water treatment systems
- Distillation systems, municipal swimming pools
- Irrigation: sprinkling, drip
- Industry
- Fire fighting systems
Pump
- Liquid temperature: from -20°C to +120°C
- Nominal flow: 45 m³/h
- maximum pressure: 33 bars
- pH between 4 and 10
Motor
- IE3 motor
- Protection class: IP55
- Maximum ambient temperature: +40°
Identification codes
LVR
45
-5
-2
-B
/F
DIN flange
inox 316 (by default, inox 304)
number of small turbines
number of turbines
Nominal flow (m³/h)
vertical multicellular pump in cast iron
Technical data
| Q (m³/h) | 25 | 30 | 35 | 40 | 45 | 50 | 55 | ||||
|---|---|---|---|---|---|---|---|---|---|---|---|
| Model | Code | Price excl. VAT | kW | Q (l/min) | 417 | 500 | 583 | 667 | 750 | 833 | 917 |
| LVR45-2-2/F | A1.17.501 | 3.439,00 € | 5.5 | H (m) | 41 | 39 | 37 | 34 | 30.5 | 26.5 | 22 |
| LVR45-2/F | A1.17.502 | 3.455,00 € | 7.5 | 48.5 | 46.5 | 44.5 | 42 | 39 | 35 | 31 | |
| LVR45-3-2/F | A1.17.503 | 4.398,00 € | 11 | 66 | 64 | 61 | 56.5 | 52 | 46 | 40 |
Hydraulic performance
Dimensions
| Models | B1 | B1+B2 | D1 | D2 | Weight |
|---|---|---|---|---|---|
| LVR45-2-2/F | 640 | 1037 | 210 | 142 | 111.3 |
| LVR45-2/F | 640 | 1037 | 210 | 142 | 115.5 |
| LVR45-3-2/F | 830 | 1329 | 254 | 175 | 157.6 |
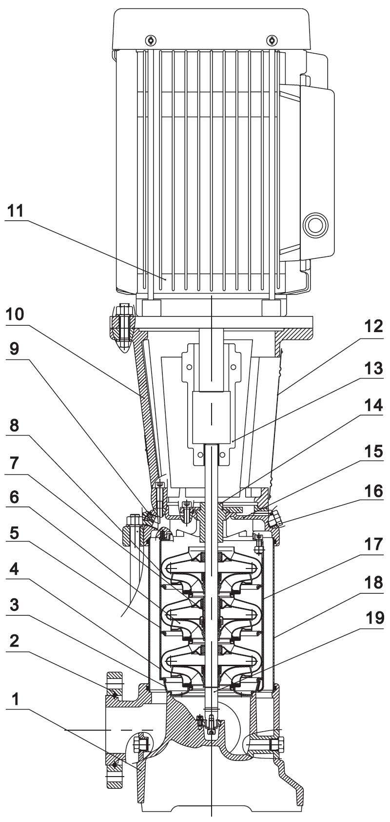
Exploded view
| No. | Type | Materials | Buy |
|---|---|---|---|
| 1 | Lower water box | cast iron HT200 | |
| 2 | Flange | ZG35 cast steel | |
| 3 | Diffuser | AISI 304 stainless steel | |
| 4 | Diffuser with bearing | AISI 304 stainless steel | |
| 5 | Intermediate diffuser | AISI 304 stainless steel | |
| 6 | Impeller | AISI 304 stainless steel | |
| 7 | Shaft sleeve | ||
| 8 | Diffuser | AISI 304 stainless steel | |
| 9 | Drain plug | AISI 304 stainless steel | |
| 10 | Lantern | cast iron HT200 | |
| 11 | Engine | ||
| 12 | Coupling protection housing | AISI 304 stainless steel | |
| 13 | Coupling | QT400 cast iron | |
| 14 | Cartridge mechanical seal | ||
| 15 | Cover | cast iron HT200 | |
| 16 | Filling plug | AISI 304 stainless steel | |
| 17 | Clamping plate | AISI 304 stainless steel | |
| 18 | Jacket | AISI 304 stainless steel | |
| 19 | Pump shaft | AISI 304 stainless steel |

Lower water box for LVR45
| Model | Part ref. | Price | Stock | Buy |
|---|---|---|---|---|
| LVR45-2-2/F | No available part. | |||
| LVR45-2/F | No available part. | |||
| LVR45-3-2/F | No available part. | |||
Flange for LVR45
| Model | Part ref. | Price | Stock | Buy |
|---|---|---|---|---|
| LVR45-2-2/F | No available part. | |||
| LVR45-2/F | No available part. | |||
| LVR45-3-2/F | No available part. | |||
Diffuser for LVR45
| Model | Part ref. | Price | Stock | Buy |
|---|---|---|---|---|
| LVR45-2-2/F | No available part. | |||
| LVR45-2/F | No available part. | |||
| LVR45-3-2/F | No available part. | |||
Diffuser with bearing for LVR45
| Model | Part ref. | Price | Stock | Buy |
|---|---|---|---|---|
| LVR45-2-2/F | No available part. | |||
| LVR45-2/F | No available part. | |||
| LVR45-3-2/F | No available part. | |||
Intermediate diffuser for LVR45
| Model | Part ref. | Price | Stock | Buy |
|---|---|---|---|---|
| LVR45-2-2/F | No available part. | |||
| LVR45-2/F | No available part. | |||
| LVR45-3-2/F | No available part. | |||
Impeller for LVR45
| Model | Part ref. | Price | Stock | Buy |
|---|---|---|---|---|
| LVR45-2-2/F | No available part. | |||
| LVR45-2/F | No available part. | |||
| LVR45-3-2/F | No available part. | |||
Shaft sleeve for LVR45
| Model | Part ref. | Price | Stock | Buy |
|---|---|---|---|---|
| LVR45-2-2/F | No available part. | |||
| LVR45-2/F | No available part. | |||
| LVR45-3-2/F | No available part. | |||
Diffuser for LVR45
| Model | Part ref. | Price | Stock | Buy |
|---|---|---|---|---|
| LVR45-2-2/F | No available part. | |||
| LVR45-2/F | No available part. | |||
| LVR45-3-2/F | No available part. | |||
Drain plug for LVR45
| Model | Part ref. | Price | Stock | Buy |
|---|---|---|---|---|
| LVR45-2-2/F | No available part. | |||
| LVR45-2/F | No available part. | |||
| LVR45-3-2/F | No available part. | |||
Lantern for LVR45
| Model | Part ref. | Price | Stock | Buy |
|---|---|---|---|---|
| LVR45-2-2/F | No available part. | |||
| LVR45-2/F | No available part. | |||
| LVR45-3-2/F | No available part. | |||
Engine for LVR45
| Model | Part ref. | Price | Stock | Buy |
|---|---|---|---|---|
| LVR45-2-2/F | No available part. | |||
| LVR45-2/F | No available part. | |||
| LVR45-3-2/F | No available part. | |||
Coupling protection housing for LVR45
| Model | Part ref. | Price | Stock | Buy |
|---|---|---|---|---|
| LVR45-2-2/F | No available part. | |||
| LVR45-2/F | No available part. | |||
| LVR45-3-2/F | No available part. | |||
Coupling for LVR45
| Model | Part ref. | Price | Stock | Buy |
|---|---|---|---|---|
| LVR45-2-2/F | No available part. | |||
| LVR45-2/F | No available part. | |||
| LVR45-3-2/F | No available part. | |||
Cartridge mechanical seal for LVR45
| Model | Part ref. | Price | Stock | Buy |
|---|---|---|---|---|
| LVR45-2-2/F | No available part. | |||
| LVR45-2/F | No available part. | |||
| LVR45-3-2/F | No available part. | |||
Cover for LVR45
| Model | Part ref. | Price | Stock | Buy |
|---|---|---|---|---|
| LVR45-2-2/F | No available part. | |||
| LVR45-2/F | No available part. | |||
| LVR45-3-2/F | No available part. | |||
Filling plug for LVR45
| Model | Part ref. | Price | Stock | Buy |
|---|---|---|---|---|
| LVR45-2-2/F | No available part. | |||
| LVR45-2/F | No available part. | |||
| LVR45-3-2/F | No available part. | |||
Clamping plate for LVR45
| Model | Part ref. | Price | Stock | Buy |
|---|---|---|---|---|
| LVR45-2-2/F | No available part. | |||
| LVR45-2/F | No available part. | |||
| LVR45-3-2/F | No available part. | |||
Jacket for LVR45
| Model | Part ref. | Price | Stock | Buy |
|---|---|---|---|---|
| LVR45-2-2/F | No available part. | |||
| LVR45-2/F | No available part. | |||
| LVR45-3-2/F | No available part. | |||
Pump shaft for LVR45
| Model | Part ref. | Price | Stock | Buy |
|---|---|---|---|---|
| LVR45-2-2/F | No available part. | |||
| LVR45-2/F | No available part. | |||
| LVR45-3-2/F | No available part. | |||
Packaging
| Models | Weight (kg) | Length L (mm) | Width W (mm) | Height H (mm) |
|---|---|---|---|---|
| LVR45-2-2/F | 0 | 0 | 0 | 0 |
| LVR45-2/F | 130.9 | 1130 | 375 | 504 |
| LVR45-3-2/F | 183.9 | 1400 | 395 | 584 |
